CPI products are available exclusively through our authorized distributors, ensuring you get the best service, local availability, and flexible purchasing options. Find a distributor near you to check availability and place an order.
Need help choosing the right solution? Our sales specialists provide personalized assistance to help you navigate product selection, technical specifications, and custom solutions tailored to your needs. Connect with an expert today.
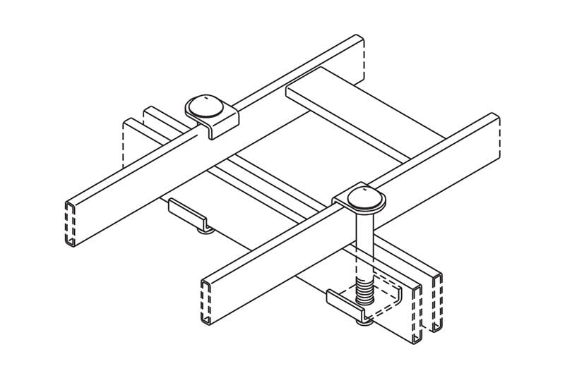
J-Bolt Clip Kit; Gold; for 1" x 2" Bar
To attach 1-1/2" cable runway to a 1" x 2" auxiliary framing channel without drilling. Gold over zinc plating.